Description
Thread Globe Valve
Thread Globe Valve is a corrosion-resistant valve made from high-grade stainless steel 304 or 316, designed for reliable operation in harsh industrial environments. Equipped with NPT or BSP threaded connections (ranging from ½” to 2″), it ensures secure, leak-proof performance through a dual-seal system combining a PTFE gasket and metal seat.
Engineered for durability and precision, this valve is ideal for steam, chemical processing, oil, and marine applications, delivering long-lasting performance and dependable flow control even under demanding conditions.

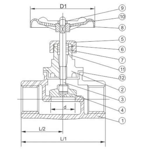
| No. | Part | Materials |
| 1 | Body | ASTM A351 CF8M/CF8 |
| 2 | Bonnets | ASTM A351 CF8M/CF8 |
| 3 | Core | SS316 |
| 4 | Cork | SS316 |
| 5 | Hexagonal Cap | SS316 |
| 6 | Packing Gland | SS304 Main Extemal Dimensions |
| 7 | Paking | R-PTFE |
| 8 | Handwheels | ASTM B85 |
| 9 | Center shaft nut | SS304 |
| 10 | Nameplate | Aluminum Alloy |
| 11 | Gaskets | SS304 |
| 12 | Sealling | R-PTFE |
| Size | d | L | H | D1 | CV | |
| 1/2 | 15 | 66 | 100 | 70 | 3.8 | |
| 3/4 | 20 | 80 | 106 | 70 | 7.0 | |
| 1 | 25 | 90 | 118 | 80 | 11.0 | |
| 1-1/4 | 32 | 105 | 134 | 80 | 21.0 | |
| 1-1/2 | 40 | 120 | 152 | 90 | 29.0 | |
| 2 | 50 | 141 | 172 | 100 | 50.0 | |









